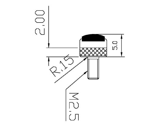
MODEL : KC-DC5

 - DOME TIP

 

특징















돔 형태의 타입으로 제작됨. 초경 재질로 내구성이 강함.

사양

























품번재질






KC-DC5초경
















사이즈















 

실물사진

*제품의 사양은 성능개선을 위해 예고없이 변경될 수 있습니다.